屋面渗漏在各类建筑中屡见不鲜,而且屋面一旦出现渗漏点,在窜水的情况下,必定会波及到临近甚至整个屋面。在维修的过程中如果不专业或者一点不到位,往往会堵了这边漏那边,最后只有全部做防水才能解决问题。
所以,屋面渗漏一定要早发现早处理,在渗漏不严重的前期,我们也可以针对渗漏部位进行有针对性的设防、修补。

下面,就屋面细部节点最容易出现渗漏的地方进行分析。
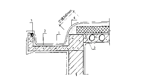
1、存在问题:沿沟底或预制檐沟的接头处,屋面与天沟交接处裂缝,沟底渗漏水。
原因分析:
天沟、檐沟的结构变形,温差变形导致裂缝,防水构造层不符合要求,水落口杯直径太小或堵塞造成溢水、漏水。
预控措施或方法:
沟内防水层施工前,先检查预制天沟的接头和屋面基层结合处的灌缝是否严密和平整,水落口杯要安装好,排水坡度不宜小于
1%,沟底阴角要抹成圆弧,转角处阳角要抹成钝角,用与卷材同性质的涂膜做防水增强层,沟与屋面交接处空铺宽为200mm的卷材条,防水卷材必须铺到天沟外邦顶面。见下图做法。

1—防水层;2—附加层;3—密封材料;4—干铺卷材
2、存在问题:屋面山墙、女儿墙泛水处渗漏。
原因分析:
1)材料收头构造不合理,卷材张口没有钉牢,封口处未用密封材料密封或封闭不严。
2)女儿墙压顶板抹灰层开裂,雨水沿墙面进入;
3)抹灰层开裂或后浇混凝土挑檐开裂。
预控措施或方法:
砖砌女儿墙高度较低时,卷材收头可直接铺至女儿墙压顶下,用金属压条钉压固定,并用密封材料封闭严密,压顶上部抹灰放坡端部抹鹰嘴滴水。见下图做法。

3、存在问题:屋面水落口处渗漏。
原因分析:
1)返坡;
2)水落口安装不牢,嵌缝不严,未做密封处理;
3)防水层和附加层做法不正确。
预控措施或方法:
1)水落口安装时位置、标高、坡向要正确。标高不得过高也不宜过低。水落口标高应考虑排水坡度和找平层、保温层、防水层等的厚度;
2)水落口安装时与女儿墙或屋面板四周应用细石砼(掺膨胀剂)嵌填密实,安装牢固;
3)水落口周围直径500mm范围内坡度不应小于5%,水落口与基层接触处,应留宽20mm,深20mm凹槽,嵌填密封材料。见下图

4、存在问题:屋面变形缝(双墙变形缝、高低跨度变形缝)处漏水。
原因分析:
1)屋面变形缝构造做法未按设计要求施工;
2)屋面变形缝预制砼压顶板接缝处未用密封材料嵌缝或因抹灰开裂;
3)金属压顶板搭接处焊缝开焊。
预控措施或方法:
1)屋面变形缝应按设计要求认真施工,同时满足变形及膨胀的要求,见下图;

2)预制砼压顶板每块接缝处做好嵌填密封膏,抹灰时做好泛水找坡;
3)采用镀锌钢板压顶时,接缝处应卷边搭接或焊接牢固。当变形缝与女儿墙相交处,金属板要交圈。
5、存在问题:伸出屋面管道根部渗漏。
原因分析:
1)出屋面管道根部与找平层未留20×20mm凹槽嵌填密封材料;
2)防水附加层做法不细;
3)卷材防水上部收头未加套箍,卷材老化开裂剥离。
预控措施或方法:
1)伸出屋面管道周围的找平层应抹成圆锥台,管道与找平层间应留20×20mm凹槽,并用密封材料填塞密实;
2)管根卷材附加层必须严格按工艺要施工,两层附加层,其中一层的一半剪成条状与基层粘贴,另一半卷上管根部(高度大于250mm),搭接不少于100mm,另一附加层压在锯齿上将缝隙遮挡;
3) 防水卷材收头必须加金属套箍箍紧,并用密封材料封严实。

漏了吗公众号

朗凯奇公众号